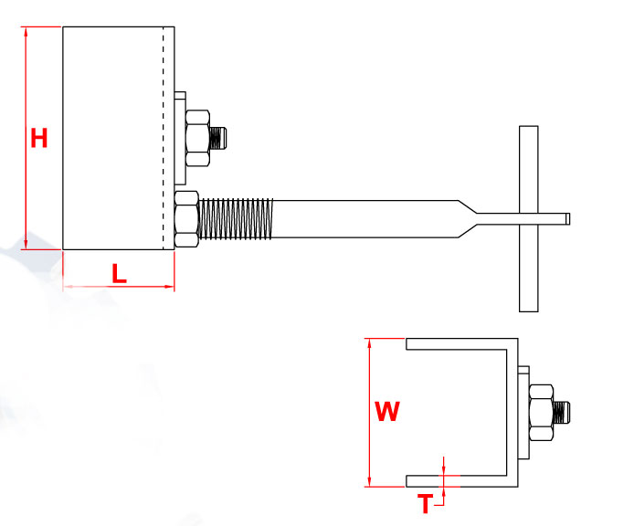
C Ankraj Tip 2, yüksek rüzgar yükü altındaki binalarda ve geniş açıklıklı dış cephe tasarımlarında C tipi profilleri yapıya sabitlemek için geliştirilmiş güçlendirilmiş bir ankraj elemanıdır. Tip 1’e oranla artırılmış malzeme kalınlığı ve genişletilmiş taban yüzeyi, ankrajın atalet momentini yükselterek ağır cephe kaplamalarında bile esnemeyi (sehim) minimize eder. Üzerindeki hassas slot kanalları, profilin kanal içerisinde dikey ve derinlik ekseninde (3D) hatasız hizalanmasına imkan tanır.
